A AMD está a apostar tudo nas técnicas de empilhamento de componentes nos seus chip, como é o exemplo da 3D V-cache, que vai chegar em breve à nova versão dos processadores Zen 3. Segundo a AMD, esta nova cache vai trazer um ganho de 15 por cento de desempenho em relação aos chips existentes. A 3D V-cache também vai chegar aos processadores para servidores EPYC de terceira geração com ganhos de desempenho ainda maiores. Até agora a AMD ainda não tinha falado acerca da utilização desta técnica nos GPU, mas uma patente descoberta recentemente pode revelar alguns dos planos da empresa.
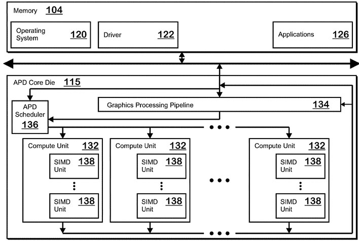
Na patente, pedida no ano passado, mas que foi apenas tornada publica há dias, a AMD mostra um chip instalado por cima do GPU, que está separado fisicamente da estrutura de chiplets do processador. A AMD chama a este chip extra ‘accelerated processing device’ (APD) e a AMD diz que é uma forma de melhorar as capacidades de machine learning. Este chip contém memória e mais aceleradores para machine leraning.
Através da sobreposição de mais um chip, é possível melhorar o desempenho do chip por causa da existência de interligações de alta velocidade para transferir dados e comandos. A AMD diz que a componente de memória pode ser configurada como cache, ou memória acessível directamente ou ambos. Também pode conter unidades Matrix Multiplication Arithemetic Logic (ALU), configuradas para fazerem operações de multiplicações para acelerar tarefas de machine learning.
Pode ver-se o esquema de implementação da nova técnica pela imagem acima. No entanto, é importante saber que uma patente não implica necessariamente que a tecnologia descrita chegará a produtos concretos. Mesmo chegando, não é claro se será a produtos para o mercado empresarial ou a produtos para o mercado de consumo, como as placas gráficas para jogos.
Fala-se há já algum tempo que a AMD vai trazer a tecnologia 3D V-cache aos GPU para jogos e a adição de mais um chip através desta técnica pode permitir uma concorrência mais igual com os núcleos Tensor da Nvidia.
